6/12
Paylaş
Resmi Orjinal Boyutunda Göster
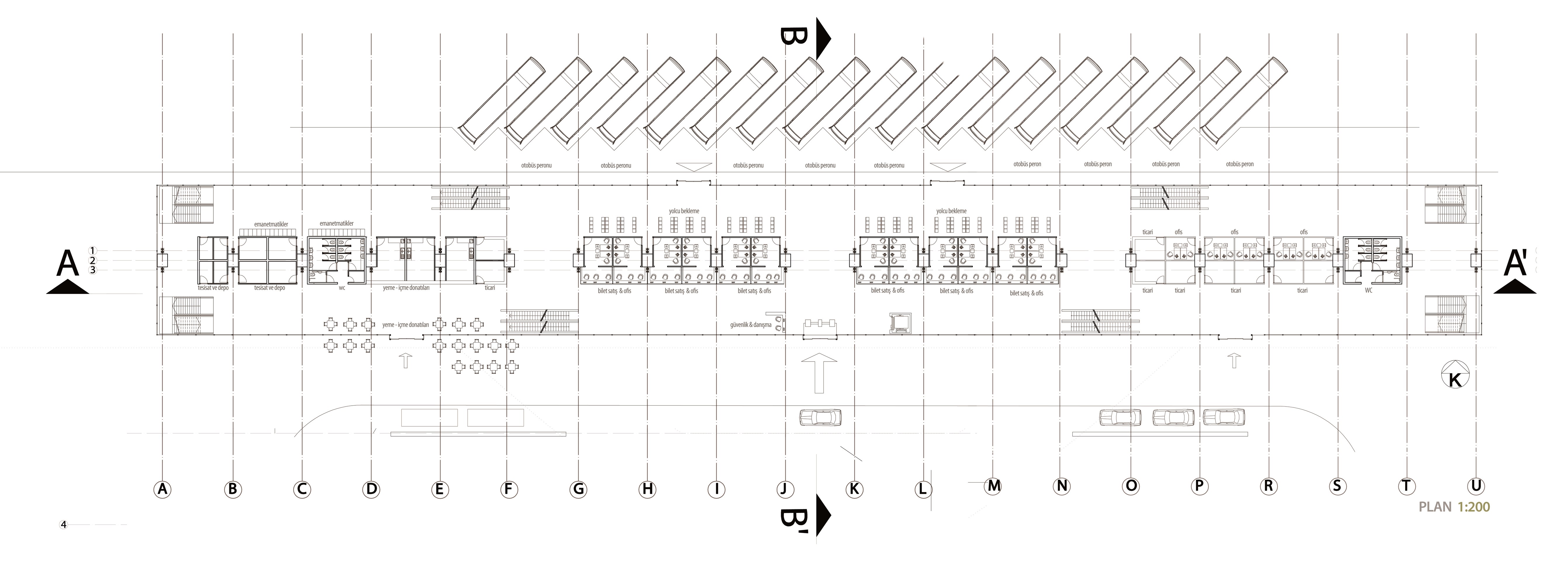
1. Ödül - Prosteel 2012 Çelik Yapı Tasarımı Yarışması / 2012
Proje Yeri: Ankara, Mamak
Proje Ofisi: ASMA
Tasarım Ekibi: Ali Sinan, Bünyamin Çam, Dicle Taşkın, Ali Özgün Topuz